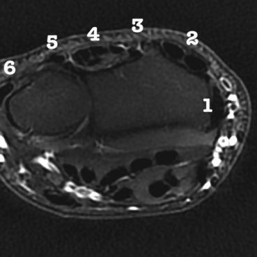
Le cloisonnement engendré par les expansions du rétinaculum des extenseurs crée une subdivision en 6 compartiments.
 
De dehors en dedans :
 
Compartiment 1 :
- long abducteur et court extenseur du 1er rayon (abductor pollicis longus et extensor pollicis brevis)
- 5 à 6 cm de long
Compartiment 2 :
- radiaux (extensor carpi radialis brevis et longus)
- 5 à 6 cm de long
Compartiment 3 :
- long extenseur du 1er rayon (extensor pollicis longus)
- 6 à 7 cm de long
- la gaine peut s'étendre jusqu'au trapéze, voire la base du métacarpien
Compartiment 4 :
- contient l'extenseur commun des doigts et l'extenseur propre du 2éme rayon (extensor communis et extensor indicis proprius)
- 5 à 6 cm de long
Compartiment 5 :
- extenseur propre du 5éme rayon (extensor quinti proprius)
- 6 à 7 cm de long
- parfois communication avec l'articulation radio-cubitale inférieure
Compartiment 6 :
- cubital postérieur
- sa gaine mesure 4 à 5 cm de long
AccueilAge osseuxAnatomieChirurgieExamen cliniqueFiches pratiquesImagerie Traitements Médicaux 
Le sport consiste à déléguer au corps quelques-unes des vertus les plus fortes de l'âme
et Sport.com
Main
Qui sommes nous ? - Contact - Liens - Coordonnées - Itinéraire
Copyright 2012